Самодельный подъемный кран "Малютка"
Станки и инструменты /29-июл,2011,14;43 /
118342

Свои дом мы с отцом строим вдвоем, а без механизмов и инструментов — это трудно. Поэтому параллельно со строительством идет создание необходимых механизмов и приспособлений, которые не всегда можно по каким-то причинам приобрести. Раньше это были бетономешалки: ручная, потом электрическая, сделанная из 200-литровой бочки, при помощи которой было изготовлено несколько тысяч бетонных блоков. Потом были сделаны деревообрабатывающие станки. На создание крана нас натолкнули трудности использования обычного автокрана из-за линии электропередачи, которую протянули по нашей улице.
На первый взгляд кран довольно сложен в изготовлении, так как нужны токарная и фрезерная обработка деталей, но в итоге надежность, простота и удобство в работе компенсируют затраты.
После сборки кран испытали на опрокидывание грузом в 200 кг — устоял. Работаем мы, в основном, с тяжестями до 150 кг. Поднимать приходится практически все: песок, кирпич, цемент, блоки, керамзит. Поворот стрелы крана на 360° вокруг своей оси дает возможность без особых усилий размещать стройматериалы в радиусе 3 м от крана. При помощи рычага или просто лома его свободно можно перемещать. Используя веревку, вдвоем за 1,5 часа мы подняли его и собрали на крыше.
Схема конструкции «Малыша» проста (рис. 1).

Вертикальная стойка 1 привернута болтами к горизонтальным опорам 2, которые стоят на регулируемых по высоте опорах 3. В вертикальной стойке смонтирован опорно-поворотный механизм 4.
Поворотная рама 5 крепится шестью болтами к поворотной части механизма 4, на ней смонтированы стрела 6, лебедка с электроприводом 7, кронштейн 8 крепления растяжки стрелы. При помощи кронштейнов 9 и шпилек 10 к ней подвешены бетонные блоки-противовесы 11. Магнитные пускатели 12 и электрический разъем 13 для подключения пульта управления краном смонтированы на щитке, который установлен на поворотной раме.
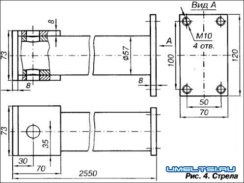
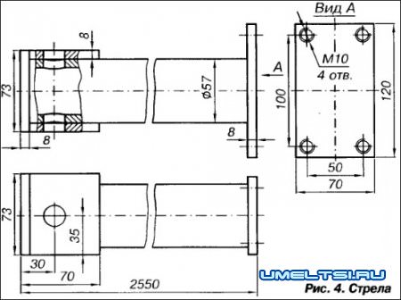
Стрела 6 изготовлена из трубы 057 мм. Одним концом она при помощи уголков-щечек 14 (зафиксированы на поворотной раме четырьмя болтами) и болта 19 крепится к поворотной раме. Щечки и болт обеспечивают жесткость стрелы в горизонтальной плоскости. На верхнем конце стрелы установлен блок 15 со скобой крепления растяжки 17. Она сложена вдвое и петлями крепится к кронштейну 8 и скобе, удерживая стрелу в вертикальной плоскости.
Растяжка изготовлена из троса 03,8 мм. Длина ее подбирается в зависимости от угла наклона стрелы. Если нужно поднять более тяжелый малогабаритный груз, угол наклона можно увеличить. Для таких случаев придется изготовить другую более короткую растяжку. По канавке ролика блока движется рабочий трос 18. На конце рабочего троса — блок-крюк 16. Сам крюк опирается на упорный подшипник (7202), что предотвращает вращение груза при подъеме. Другой конец троса крепится к барабану лебедки.
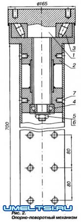
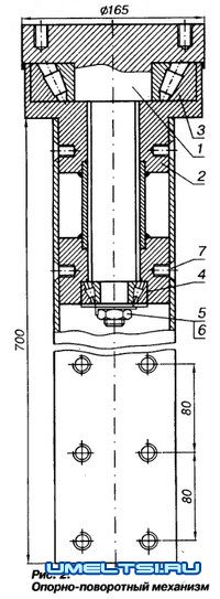
Опорно-поворотный механизм (рис. 2) состоит из поворотной 1 и неповоротной 2 частей. Опорно-упорные подшипники 3 (66314) и 4 (7605) запрессованы в неповоротной части при помощи гайки 5, зафиксированной стопорной шайбой 6. Это обеспечивает вращение поворотной части вокруг своей оси, но не позволяет ей перемещаться в осевом и радиальном направлениях. Неповоротная часть при помощи болтов 7 фиксируется в вертикальной стойке.
Лебедка 1 и электродвигатель 2 мощностью 1,5 кВт смонтированы на одной раме (рис. 3) и соединены клиновым ремнем. Барабан лебедки одним концом опирается на опорный подшипник 3, другим — при помощи шлицов связан с червячным редуктором 4, передаточное число которого 50.
Применение червячного редуктора делает ненужным электромагнитный тормоз. Передаточное число обеспечивает скорость подъема крюка 6,6 метров в минуту при шкивах одинакового диаметра и скорости электродвигателя 1500 об/мин.
Для качественной укладки троса на барабане нарезана резьбовая канавка с шагом 4 мм. На лебедке применен трос 03,8 мм. Рама лебедки 5 изготовлена из двух уголков 50x50x700 мм, не сваренных между собой; жесткость рамы обеспечивается за счет смонтированных на ней механизмов. Крепится она к поворотной раме при помощи двух кронштейнов 6, изготовленных из уголка 50x50x180 мм.
Электродвигатель питается от трехфазной сети напряжением 380 В (рис. 6). Схема подключения собрана так, что при нажатии кнопки «Верх» подается ток на катушку пускателя, который работает на подъем. При этом блокируется кнопка «Низ» от случайного включения пускателя, который работает на спуск. После того, как мы отпустим кнопку, катушка обесточивается — контактор размыкается. При нажатии кнопки «Низ» блокируется кнопка «Верх», электродвигатель работает на спуск. Двигатель может отключаться от сети в случае срабатывания хотя бы одного из тепловых реле РТ1, РТ2, которые служат для защиты двигателя от перегрузок.
Нагревательные элементы тепловых реле находятся в силовой цепи. В случае продолжительной перегрузки двигателя реле срабатывает и размыкает свой контакт в цепи управления. Электродвигатель отключается от сети контактором и в случае значительного понижения или исчезновения напряжения в сети.
Чертежи самодельного крана "Малютка"
