Как сделать трубогиб своими руками
Станки и инструменты /08-янв,2017,21;46 /
8704

Учащиеся техникума, где я работаю, во время летних каникул организуют рабочие бригады. Кроме того, что ребята могут заработать, они приобретают на практике дополнительные знания и опыт. Обучающиеся по специальности «сварщик» под руководством опытных мастеров изготавливают ворота, ограды, заборы, скамейки, подставки под цветочницы и т.д. (как по собственному дизайну, так и на заказ). В общем, все то, что сейчас очень востребовано для личных подворий и садово-огородных участков, причем по приемлемой стоимости и хорошего качества. Правда, при изготовлении этих изделий была проблема: для некоторых конструкций требовалась изогнутая труба, Для этого заготовки из труб возили на промышленное предприятие, что создавало дополнительные финансовые и другие затруднения (дополнительное время на оформление заказов, финансовых документов, транспортные издержки и т.д.). А чтобы сделать трубу изогнутой, нужны вальцы или трубогиб.
Члены кружка «Техническое творчество» техникума смогли решить эту задачу. Для начала обратились за информацией в интернет, там фотографий разных трубогибов великое множество, но все без чертежей, да и конструкции некоторых вызывали сомнения.... Пришлось ребятам не только делать, но и проектировать трубогиб своими руками. При этом главным условием было использование имеющегося в наличии материала.
Первоначально выбрали вариант с ручными регулировками, но затем решили сделать станок с электрическим приводом от пульта управления.
Трубогиб своими руками - чертежи


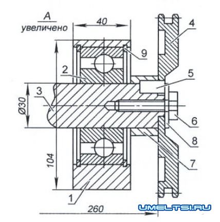
Рис. 2. Узел приводного вала трубогиба:
1 - корпус подшипника; 2 - подшипник 1580207; З - вал (⌀30, L=260); 4 - ведомая звездочка; 5 штифт(⌀6x17); 6-болт M10x30; 7 - распорная втулка; 8 — шайба; 9 — стонорное кольцо
Основой для трубогибочного станка послужила квадратная металлическая труба сечением 140x140 мм и длиной 650 мм. Для изготовления рамы были использованы обрезки труб сечением 50x50 мм и 25x50 мм. подшипниковые узлы с валами были позаимствованы у знакомого фермера от соломотряса комбайна «Дон-1500». Концы валов были проточены под внутренний диаметр ведомых звездочек газораспределительного механизма двигателя ВАЗ-2101. Червячный редуктор РЧ-80-20 разыскали и купили по цене металлолома на базе «Вторчермет». Электродвигатель 4АМ80 мощностью 0,75 кВт со скоростью вращения 910 об/мин, пускатели, пульт управления и кабель с розетками нам любезно предоставили спонсоры. Единственным покупным изделием стал домкрат, предназначенный для легкового автомобиля усилием четыре тонны.

- шаси трубогиба
- силовой узел с домкратом
- блок управления


- виброопоры
- приводной электодвигатель
Испытания показали, что трубогибочный станок оправдал наши надежды и отвечает поставленным требованиям.
Станок включается с помощью двухкнопочного пульта управления ПКЕ-212. Для регулирования «стрелы прогиба» изделий предусмотрена линейка, по которой контролируется радиус изгиба. В связи с тем. что станок получился довольно тяжелым (около 80 кг), для удобства транспортировки его снабдили колесами: задними транспортировочными и передними - направляющими. При работе станка он устанавливается на специальные виброопоры.
С помощью шкивов и звездочек подобрали оптимальную скорость подачи изделий для изгиба - 800 мм/мин.
Использование данного трубогибочного станка позволяет расширить ассортимент выпускаемой продукции, повысить возможности технического творчества. За вышеперечисленные качества и способность «крепко стоять на ногах» ребята прозвали его «Тяни-толкаем».
Стоимость станка по нынешнем временам получилась просто смехотворная - цена домкрата и металлолома.
В. ШКАРИН, пос. Строитель, Белгородская обл.