Азы строительства фундамента
Строительство /13-авг,2014,01;42 /
24080

Любой дом строится с фундамента. В случае когда при его заложении допускаются погрешности, то и судьба всего дома оказывается под большим вопросом. Всепригодного устройства фундаментов на не бывает — решение должны приниматься после анализа инженерно-геологических условий конкретной строительной площадки и воспринимаемых нагрузок.
Наблюдательные люди не могли не заметить в наших селах и пригородах старые частные дома с просевшими или растрескавшимися стенами. Это связано с усадкой фундаментов, что, как правило, является следствием ошибок при их проектировании и устройстве, когда не принимаются во внимание в полной мере грунтовые условия участка застройки, а работы производятся без соблюдения технологии.
«МИССИЯ» ФУНДАМЕНТОВ
Фундаменты принимают на себя все нагрузки — как вертикальные (от собственного веса надземных конструкций здания, от снега, лежащего на крыше, и повседневных технологических нагрузок на перекрытиях), так и горизонтальные (возникающие от усилий, создаваемых ветром) — и передают их на грунты, расположенные под подошвой фундамента. Ширина подошвы зависит от несущей способности грунтов, находящихся непосредственно под ней, и определяется расчетами, выполняемыми проектировщиком-конструктором на стадии разработки проекта.
Фундаменты не видны снаружи, так как основной объем их конструкции спрятан под землей, и только верхняя, небольшая их часть может находиться над ее поверхностью. Эту видимую часть фундаментов называют цоколем.
Характеристики грунтов, горизонты их заложения и уровень грунтовых вод на участке определяются посредством инженерно-геологических изысканий. Именно геологическое строение участка диктует выбор конструкции фундаментов.
Чтобы получить надежное основание для надземной части здания, необходимо:
■ выполнить правильный расчет ширины подошвы фундаментов в зависимости от характеристик грунтов на участке;
■ запроектировать конструкцию фундаментов с учетом всех факторов, определяющих проектные решения;
■ качественно произвести все работы по устройству фундаментов.
ТИПЫ ФУНДАМЕНТОВ
Фундаменты зданий можно классифицировать по разным признакам.
Можно выделить типы фундаментов по материалам:
■ бетонные и железобетонные;
■ бутовые — из крупного бутового камня на цементном растворе;
■ кирпичные — из хорошо обожженного керамического кирпича на цементном или цементно-известковом растворе.
По технологии выполнения работ железобетонные фундаменты бывают двух типов:
■ монолитные;
■ сборные.
По конструктивному решению различают фундаменты:
■ ленточные;
■ столбчатые;
■ свайные;
■ плитные.
Ленточные фундаменты — это стены, заглубленные в грунт. В плане они представляют собой полосы (или ленты) и выполняются только под стены здания (как несущие, так и самонесущие). Их можно изготовлять из монолитного или сборного железобетона, из кирпича или бутового камня. Монолитные ленточные фундаменты выполняют из бетонной смеси (класса от £312,5 до В25 — в зависимости от нагрузки), замешиваемой на стройплощадке или приготовленной на бетонных заводах. Перед укладкой бетона необходимо устроить опалубку и уложить (если это необходимо по расчету) арматуру. Сборные фундаменты собирают из бетонных или железобетонных блоков заводского изготовления. Одни из них необходимо монтировать с помощью подъемного крана (это большие бетонные блоки), другие вполне доступны для ручной переноски и укладки на место. Мелкоразмерные бетонные блоки выпускают полнотелыми и пустотными. Существуют пустотные бетонные блоки, используемые в качестве несъемной опалубки для устройства бетонных стен подвалов и фундаментов.

ленточный фундамент
Для равномерной передачи нагрузки на грунт под фундаментной лентой устраивают подушку. Она может быть песчаной, щебеночной, из тощего бетона, а также выполняться из монолитного железобетона или готовых железобетонных элементов в виде уширения фундаментной ленты.
Ленточный фундамент: 1 - отмостка; 2 - фундаментная стена; 3 - песчаная подготовка; 4 -фундаментная подушка; 5 - подошва
Столбчатые фундаменты возводят под отдельно стоящие конструкции, например, стойки или колонны. Но и под стены можно выполнять столбчатые фундаменты, располагая их по линии стены и укладывая на верхние срезы столбов фундаментные балки (их именуют рандбалками, или ростверком). Столбчатые фундаменты также могут быть монолитными и сборными.
Столбчатый фундамент: 1 - рандбалка; 2 - отмостка; 3 - фундаментные стены в виде столбов; 4 - песчаная подготовка
Свайные фундаменты обычно устраивают на участках, где верхние слои грунта имеют слабую несущую способность и не могут воспринять на себя вертикальную нагрузку.
Раньше свайные фундаменты выполняли из забивных свай, но в настоящее время их заменили на более прогрессивные буронабивные. Для устройства таких свай сначала бурят скважину в грунте, одновременно опуская в нее так называемую обсадную трубу (она служит для крепления стенок скважины). Затем вставляют в скважину арматурный каркас. По мере заполнения скважины бетоном обсадную трубу постепенно вынимают.
Свайный фундамент: 1 - ростверк; 2 - свая; 3 - отмостка; а - расстояние между осями свай; b - размер сечения сваи; I - длина сваи (определяются расчетом)
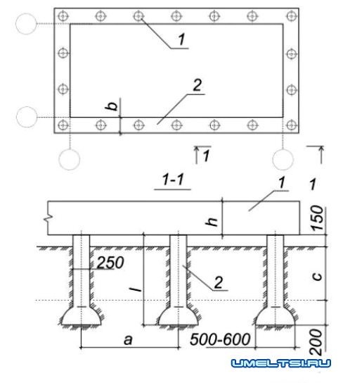
Фундаменты ТИСЭ (Экономная технология индивидуального строительства) — это ленточно-свайный фундамент, у которого ростверк, объединяющий верхушки свай, расположен над уровнем земли. Неглубокие скважины для буронабивных свай с расширенной полостью на дне выполняют специальным ручным буром. При этом отпадает необходимость копать котлован и траншеи, как в случае устройства ленточного фундамента, а кроме того, сокращается расход бетона.
В настоящее время на строительном рынке появились металлические винтовые сваи, которые очень удобны при возведении легких одноэтажных зданий. При их использовании не требуется выполнять большой объем земляных работ — сваи легко ввинчиваются в грунт.
Фундамент ТИСЭ: 1 - ростверк; 2 - буронабивная свая; h - высота ростверка 300-600 мм; b - ширина ростверка; а - расстояние между сваями; I - длина сваи (1=150 мм + с + 200 мм, где с - глубина промерзания грунта)
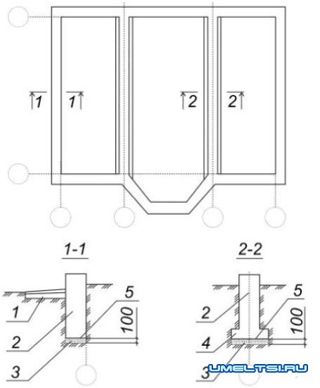
Плитные фундаменты выполняют из монолитного железобетона. В плане такая плита повторяет горизонтальную проекцию здания. Плитный фундамент очень удобен на участках со сложным геологическим строением, с грунтами, имеющими небольшую несущую способность, а также в местах, где грунтовые воды постоянно находятся вблизи поверхности земли или их уровень сезонно повышается, оставаясь в таком состоянии продолжительное время. Плита хороша тем, что при ее устройстве объемы земляных работ незначительные (обычно удаляют только растительный слой), однако при этом увеличивается расход песка и щебня (для выполнения подготовки под плиту), а также бетона и арматуры на конструкцию самой плиты.
Плитный фундамент: 1 - стены; 2 - железобетонная фундаментная плита; 3 - щебеночная подготовка; 4 - песчаная подготовка
ВЫБОР КОНСТРУКТИВНОГО РЕШЕНИЯ
Существует несколько факторов, влияющих на выбор конструкции фундаментов и материала, из которых их удобнее всего возводить.
К этим факторам относятся:
✔ архитектурно-планировочное и конструктивное решение надземной части дома;
✔ гидрогеологические условия участка застройки;
✔ рельеф участка;
✔ размер участка застройки, определяющий возможность въезда на участок автотранспорта и использование при строительстве автомобильных подъемных кранов.
В большинстве случаев под стены частных домов закладывают фундаменты ленточного типа. Самые благоприятные условия для устройства традиционного простого ленточного фундамента — если на глубине промерзания грунтов (или немного ниже) расположены грунты, способные быть основанием фундаментов, а уровень грунтовых вод находится значительно ниже. При высокой несущей способности грунтов можно уменьшать ширину подошвы ленточных фундаментов до ширины фундаментной стены или даже применять столбчатые фундаменты с рандбалками. Столбчатые фундаменты с рандбалками по трудозатратам и расходу материалов более экономичны, чем сплошные ленточные фундаменты, но они не совместимы с подвалами.

Фундамент ТИСЭ
Сложными геологическимиусловиями можно считать присутствие на глубине заложения подошвы фундаментов грунтов, не способных воспринимать нагрузки, передаваемые на них подошвой фундамента. Сюда относятся пески пылеватые влажные, глины, имеющие пластичность, которая достигает предела текучести, залегание прослойки торфа под пятном застройки. Неудобство для фундаментов создают также грунты, которые меняют свой объем при намокании, - просадочные и пучинистые. Все перечисленное вносит особые требования к проектированию и устройству фундаментов, что значительно повышает стоимость строительства.
К сложному геологическому строению площадки можно отнести и залегание грунтовых слоев наклонно (под большим углом к горизонту), а также выход на поверхность границы между наклонными слоями грунтов, имеющих различные характеристики. Последнее условие требует устройства в конструкциях фундамента и надземной части здания в этом месте деформационного осадочного шва.
От рельефа поверхности участка застройки зависит решение цокольной части здания. Поверхность участка, имеющая уклон 10° и больше, требует выполнения ступенчатых фундаментов или проектирования цокольного (полуподземного) этажа либо под всем зданием, либо только под его частью.

Свайный фундамент
Размер участка или его форма в плане также могут повлиять на конструкцию и материал фундаментов. Если участок не позволяет обеспечить въезд на стройплощадку автотранспорта, доставляющего материалы, или исключена возможность использования автокрана для выполнения монтажа крупноразмерных фундаментных блоков, то фундаменты лучше всего выполнять из монолитного железобетона либо из мелкоразмерных бетонных блоков.
ГИДРОИЗОЛЯЦИЯ ФУНДАМЕНТОВ
Фундаменты защищают от влаги с помощью горизонтальной и вертикальной гидроизоляции.
Горизонтальную гидроизоляцию укладывают на верхний срез фундамента, создавая надежный барьер на пути капиллярной влаги. Если уровень грунтовых вод выше подошвы фундаментов, то гидроизоляцию выполняют также между фундаментной подушкой и фундаментной стеной. Ее выполняют из рубероида или плоских полимерных мембран.

гидроизоляция фундамента
Вертикальной гидроизоляцией защищают от влаги и грунтовой воды боковую поверхность фундаментов по всему периметру. В водопроницаемых грунтах (их иногда называют фильтрующими), к которым относятся пески и супеси, при залегании грунтовых вод на значительной глубине от подошвы фундамента достаточно так называемой влагозащитной (противокапиллярной) гидроизоляции фундамента легкого типа. Ее можно выполнить с помощью обмазки наружной поверхности фундаментов битумными мастиками или специальными растворами на минеральной основе.
В плотных грунтах (суглинках и глинах), удерживающих в своей массе влагу атмосферных осадков длительное время, или если уровень грунтовых вод находится недалеко от подошвы фундамента, его защищают так называемой водозащитной гидроизоляцией среднего типа. Это может быть битумная или минеральная обмазочная гидроизоляция, наносимая в два слоя, или оклеечная гидроизоляция из рубероида либо другого подобного материала, а также из полимерных мембран.
Если уровень грунтовых вод очень высокий (значительно выше подошвы фундаментов), то на фундаменты действует гидростатическое давление. Таким фундаментам необходима противонапорная гидроизоляция тяжелого типа, которая должна иметь достаточно высокую механическую прочность, чтобы обеспечить необходимую герметичность и надежную защиту фундаментов от напора грунтовых вод. Выполняют ее из рубероида, наклеиваемого в два, а иногда даже и в три слоя, а также из полимерных мембран. Чтобы избежать повреждения этой гидроизоляции в период строительства или на протяжении эксплуатации дома, ее защищают от механических повреждений. Для этого используют разные материалы — полимерные мембраны (плоские и профилированные), плоские асбоцементные листы и даже кирпичную кладку.
Несмотря на многообразие технологий и материалов, выполнить с их помощью гидроизоляцию уже существующего и протекающего подвала очень сложно. Откопать стены снаружи часто невозможно, а если и возможно, то очень дорого. Принципиальным решением проблемы в таком случае может стать проникающая гидроизоляция. Это материалы, которые проникают внутрь бетона и кристаллизуются в порах и микротрещинах, тем самым предотвращая фильтрацию воды через бетон. Глубина проникновения таких материалов составляет 40—50 см, что позволяет, обрабатывая фундамент изнутри, гидроизолировать его на всю толщину.
УТЕПЛЕНИЕ ФУНДАМЕНТОВ
Утепление фундаментов выполняют двумя способами: либо наклеивают плиты теплоизоляции на наружную боковую поверхность фундаментных стен, либо укладывают их горизонтально непосредственно на грунт под отмостку по периметру здания, впритык к наружной боковой поверхности фундаментных стен (ширина горизонтальной полосы теплоизоляции должна составлять не менее 1 м). Второй способ утепления чаще применяют для уже существующих фундаментов, так как для выполнения работы нет необходимости раскапывать фундаменты (обычно это делают на глубину не менее 1 м), что уменьшает объем земляных работ.

теплоизоляция отмостки
Вертикальную теплоизоляцию достаточно выполнять на глубину промерзания грунта, но на практике обычно ее укладывают от верха фундаментной подушки. Утепление фундаментов можно выполнять теплоизоляционными плитами, изготовленными из минеральной ваты, обычного или экструдированного пенополистирола. Минеральная вата легко впитывает влагу и требует очень хорошей гидроизоляции, во влажных грунтах использовать ее нельзя, поэтому применяется она крайне редко. Экструдированный пенополистирол стоит значительно дороже обычного, поэтому при вертикальном утеплении фундаментов широко применяются плиты марки ПСБ-С-25 и ПСБ-С-35 из обычного пенополистирола. Плиты ПСБ-С-25 обладают несколько меньшей механической прочностью, их необходимо в грунте защитить от механических повреждений, для чего используют полимерные мембраны или плоские асбоцементные листы.