Устройство для извлечения остатков пены
Полезные приспособления /20-авг,2017,13;34 /
10608

Очень часто баллоны с монтажной пеной, предназначенные под строительный пистолет, из-за неправильного или неосторожного обращения с ними (или некондиционные) начинают травить пену вокруг клапана (а не в сопло, как положено). И пистолет с таким баллоном не работает. Но не торопитесь выбрасывать баллоны с остатками монтажной пены.
Изготовление специального адаптера-редуктора

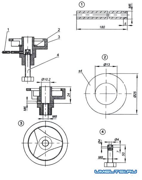
Редуктор-адаптер для извлечения остатков монтажной пены из некондиционных баллонов:
1- металлическая грубка ⌀6; 2 - прокладка (резина S3...4); 3 - накидная гайка от пистолета монтажной пены; 4 - болт М8*50 (доработанный)
С помощью этого самодельного устройства были использованы все остатки пены бракованных баллонов, которые еще не успел выбросить.
Основная деталь редуктора-адаптера -накидная гайка от пистолета для монтажной пены. В ней по центру просверлено отверстие диаметром 10,2 мм и глубиной 24 мм, а с другой стороны - отверстие под резьбу М8. В боку накидной гайки сделано резьбовое отверстие Мб, в которое завинчивается трубка, изготовленная из любого металла (например, меди).
В винте М8 с торца резьбовой части сверлится отверстие диаметром 4 мм, а на расстоянии 7 мм от торца (по центру) - диаметральное отверстие тоже диаметром 4 мм (для движения пены). Прокладка для герметизации стыка между баллоном и накидной гайкой изготавливается из резины толщиной 3 — 4 мм.

Перед началом работы на баллоне очищается посадочное место от застывшей пены. Завинчивается накидная гайка до упора, а в нее - винт, но так, чтобы он надавил на клапан баллона и пена под давлением пошла в трубку.
Этот редуктор-адаптер также можно использовать и на новых (кондиционных) баллонах.
После работы адаптер-редуктор обязательно надо промыть очистителем для пены, например «Димексидом» или каким-либо другим.
Для удобства работы в головке болта нужно просверлить отверстие диаметром Змм, чтобы вставить туда проволоку или гвоздь диаметром 3 мм и длиной 40 мм для прочистки отверстия.
Для «доставки» пены в труднодоступные места на конец металлической трубки можно надеть другую пластмассовую трубку (способную гнуться без переломов) подходящего диаметра и соответствующей длины.
В. МИХАЙЛОВ, г. Арзамас, Нижегородская обл