Платформенная тачка - тележка своими руками
Полезные приспособления /01-фев,2012,19;06 /
53788

Тачка-тележка в индивидуальном домашнем хозяйстве -незаменимое транспортное средство даже для тех. у кого имеется мини-трактор или мотоблок с прицепом. Главные её достоинства - экологичность и бесшумность, а потому тачку можно использовать даже внутри помещений.
И я на своём веку сделал таких тележек немало: для себя, родственников, знакомых, причём, как помнится - все разные.
При переборке архива в мастерской обнаружил эскиз двухколёсной тележки, изготовленной несколько лет назад по заказу священнослужителя то ли храма, то ли монастыря. Кто-то из местных жителей, знавших меня как инженера и самодельщика, направил его ко мне. Как выяснилось, тачки, какая ему была нужна, не было в продаже на местных строительных рынках. Промышленные предприятия с единичным заказом тоже связываться не хотели - ведь для изготовления гачки надо было разработать ещё и чертежи.
Выслушав пожелания священнослужителя по вопросу его требований к тачке, набросал эскиз (именно он и попался мне на гпаза), ссипасовап с ним и приступил к выполнению заказа.
Конструкция тачки: одноосная, двухколёсная. Её изюминка в том, что ось колёс проходит поперёк грузовой платформы под её серединой. При такой компоновке практически вся масса груза приходится на колёса, а транспортировщику остаётся тачку только толкать.
В предлагаемой вниманию читателей журнала конструкции применены колёса в сборе (шины, диски с ободьями, ступицы и даже оси) от сельскохозяйственной сеялки.
Изготавливалась тачка в индивидуальном порядке в единственном экземпляре, без применения каких либо кондукторов, приспособлений и станков.
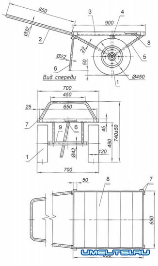
Чертежи, размеры тачки-тележки

Двухколёсная тачка с центральным расположением оси:
1 - колесо (от сеялки, 2 шт.); 2 - ручка (труба ∅32); 3 - рамка платформы-кузова (уголок № 4,5); 4 стойка (труба ∅22,2 шт.); 5 - подкос (труба ∅22, 4 шт.); 6 - откидная ножка (труба ∅22); 7 - кронштейны для установки бортов при перевозке сыпучих грузов (стальной лист s3, 8 шт.); 8 - настил платформы (шпунтованная доска-вагонка s16); 9 - трубчатая балка (труба ∅42x5)

Приставной борт тачки:
1 - щит (шпунтованная доска-вагонка s 16): 2 - стойка (деревянный брусок 50x25, 2 шт.)
Ход работ по изготовлению тележки одноосной, платформенной своими руками
По эскизным наброскам общего вида тачки при помощи ручной ножовки по металлу были нарезаны из труб и уголков необходимые детали.
Сборка начинается с приварки осей колёс к трубчатой балке (диаметром 42x5 мм), выдерживая размер колеи.
Затем сваривается рамка кузова - грузовой платформы, выставляется на стойках на необходимую высоту над собранными колесами и закрепляется при помощи подкосов.
Наконец, из трубы диаметром 32 была согнута ручка и приварена к рамке кузова на удобной высоте (под свой рост) таким образом. чтобы грузовая площадка была наклонена в рабочем положении вперёд на 5 - 10°.
После сварки всей конструкции устанавливается откидная ножка и устраивается деревянный настил площадки кузова (грузовой платформы). В приведённом варианте мастил устроен из вагонки (шпунтованной доски) толщиной 16 мм поперёк платформы Но это сделано потому, что на тот момент не быпо под руками более длинных обрезков вагонки. А вообще-то настил лучше сделать вдоль - легче сваливать сыпучие грузы.
Особенностью описываемой конструкции является ровная площадка (платформа) для перевозки грузов, расположенная на удобной погрузочной высоте.
Такая конструкция практична при перевозке сена, тюков, мешков, мебели.
Для сыпучих грузов и дров-досок привариваются кронштейны. в которые вставляются стойки бортиков. Бортиков, по указанию заказчика, я не делал. Но их легко и быстро можно сколотить в виде щитов из такой же вагонки, что и настил, скрепив между собой парой поперечин-стоек из деревянных брусков подходящего ссчения. Стойки надо выполнить с выступающими концами, которые и вставляются в кронштейны.
Готовая тележка для доставки к «месту постоянного жительства» была загружена в автомобиль «Ока».
А. МАТВЕЙЧУК.
г. Заводоукооск.
Тюменская обл.
г. Заводоукооск.
Тюменская обл.